Apple có thể tích hợp máy chiếu vào các thiết bị iOS

Apple vừa giành được quyền sở hữu bằng sáng chế mới, mô tả cách nhúng trực tiếp một thiết bị máy chiếu vào iPhone hoặc iPad.
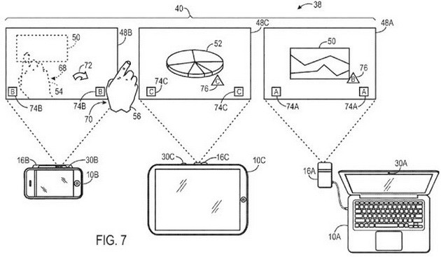
Văn phòng Thương hiệu và Sáng chế Hoa Kỳ, hôm qua 16/7, đã cấp cho Apple giấy chứng nhận quyền sở hữu bằng sáng chế mô tả cách nhũng trực tiếp máy chiêu vào iPhone hoặc iPad. Bằng sáng chế của Apple có tên gọi " Projected display shared workspaces"  (dự án chia sẻ hình ảnh không gian làm việc) mô tả một công nghệ cho phép tích hợp một máy chiếu nhỏ vào các thiết bị iOS và cungcấp cho người dùng khả năng kiểm soát các bài thuyết trình của mình vớicử chỉ trên màn hình trình chiều. Công nghệ này sẽ dựa trên một máy ảnh tích hợp để phát hiện bóng tối và tạo bóng hình thông qua cử chỉ tại các khu vực dự kiến​​. Công nghệ máy chiếu cho phép biến chiếc iPhone hoặc iPad thành một máy chiếu kết nối với máy tính hoặc các thiết bị đầu phát khác có hỗ trợ kết nối chia sẻ hình ảnh với iPhone hoặc iPad. Hiện nay, thị trường công nghệ đã xuất hiện nhiều phụ kiện giúp biến iPhone hoặc iPad thành máy chiếu. Tuy nhiên, với việc tích hợp thẳng máy chiếu vào iPhone hoặc iPad, người sử dụng sẽ không còn quá bận tâm tới việc phải để ý xem có mang theo một phụ kiện máy chiếu đi kèm mỗi lần tham gia các cuộc hội thảo hay không đồng thời tiết kiệm chi phí đầu tư các phụ kiện này, vốn có giá khá cao trên thị trường. Phác họa công nghệ tích hợp máy chiếu vào iPhone và iPad của Apple:
Apple có thể tích hợp máy chiếu vào các thiết bị iOS ảnh 1
Việt Đức (Vietnam+)

Tin cùng chuyên mục

Ông Robert Bell, Đồng sáng lập ICF 2025 phát biểu tại Hội nghị Thượng đỉnh ICF 2025 tại Thành phố Hồ Chí Minh. (Ảnh: PV/Vietnam+)

Thành phố Hồ Chí Minh trên đường đua “kép”: Kế thừa Bình Dương để kiến tạo tương lai Số và Xanh

Thành phố Hồ Chí Minh đang nỗ lực hiện thực hóa mục tiêu trở thành siêu đô thị thông minh, hành trình “chuyển đổi kép” – đồng thời thúc đẩy chuyển đổi số và chuyển đổi xanh. Bài toán tưởng chừng đầy thách thức này lại có một “lời giải mẫu” ngay trong không gian mở rộng của thành phố: Mô hình phát triển từng giúp Bình Dương trở thành Cộng đồng Thông minh Toàn cầu của năm 2023.